
معرفی پتنت نوآورانه سامسونگ در زمینه ساعتهای هوشمند
شرکت سامسونگ، یکی از پیشگامان عرصه فناوری پوشیدنی، اخیراً پتنت جدیدی را به ثبت رسانده که آینده ساعتهای هوشمند را متحول میکند. این پتنت که به تازگی منتشر شده، به روشی نوین برای توسعه رابط کاربری دستگاههای پوشیدنی اشاره دارد که میتواند تجربه کاربری را به شکلی چشمگیری بهبود بخشد.

فناوری پروژکتور داخلی در ساعتهای هوشمند
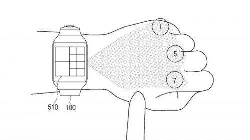
اسناد منتشر شده در خصوص این پتنت، اسمارت واچی را به تصویر میکشد که قادر است شکل فیزیکی اشیاء پیرامون خود را اسکن کرده و شناسایی کند. این دستگاه با استفاده از پروژکتورهای داخلی خود، نوعی رابط کاربری مجازی را روی سطوح مجاور ایجاد مینماید. این فناوری نوآورانه، محدودیتهای نمایشگرهای کوچک در ساعتهای هوشمند را برطرف کرده و فضای تعامل کاربر را به طور چشمگیری گسترش میدهد.
نحوه عملکرد فناوری پروژکتور سامسونگ
بر اساس توضیحات ارائه شده در پتنت، این ساعت هوشمند میتواند رابط کاربری خود را روی مچ کاربر و بازوی او منعکس نماید. حتی قابلیت بازتاب دکمههای مجازی روی انگشتان کاربر نیز وجود دارد. این قابلیت به کاربر اجازه میدهد تا بدون نیاز به نگاه کردن به نمایشگر کوچک ساعت، تعاملات خود را انجام دهد.
کاربردهای عملی این فناوری
در مثالهای ذکر شده پیرامون این پتنت، کاربردهای متنوعی برای این فناوری بیان شده است:
- بازتاب نقشه مسیریابی: کاربران میتوانند نقشهها را روی بازوی خود مشاهده کنند
- کیبورد مجازی: تایپ کردن با استفاده از کیبورد بازتاب شده روی دست
- منوی تعاملی: نمایش آیتمهای منو روی سطوح مختلف
- اطلاعات تماس: نمایش شماره تلفنها و اطلاعات مخاطبین
سیستم تشخیص و تعامل هوشمند
این پوشیدنی هوشمند از تعدادی حسگر عکس برای تشخیص نقطه اشاره شده توسط کاربر بهره میبرد. این حسگرها با دقت بالایی حرکات انگشتان کاربر را ردیابی کرده و به دستگاه اجازه میدهند تا موارد بازتاب شده با استفاده از پروژکتور را برحسب نیاز تغییر دهد. این قابلیت، تعامل با رابط کاربری مجازی را به تجربهای طبیعی و کارآمد تبدیل میکند.
کاربردهای فراتر از ساعتهای هوشمند
لازم است اشاره کنیم که کارکردهای این گجت صرفاً به بازتاب تصاویر روی فواصل کوتاه خلاصه نمیشود. در اسناد پتنت، دو مورد مصرف دیگر نیز برای این فناوری برشمرده شده است:
پروژکتور تمام صفحه برای محیط کار
یکی از کاربردهای جذاب این فناوری، امکان بازتاب تمام صفحه دسکتاپ روی دیوارهای اطراف فرد با استفاده از یک ساعت هوشمند کوچک است. این قابلیت میتواند در محیطهای کاری و جلسات ارائه بسیار کاربردی باشد.
ادغام با فناوری واقعیت مجازی و افزوده
کاربرد دیگر این فناوری در محصولی شبیه به هدست است که احتمالاً قادر است محیطی مشتمل بر واقعیت مجازی و محیط حقیقی پیرامون کاربر را پیش رویش قرار دهد. این ویژگی میتواند تجربههای AR/VR را به سطح جدیدی ارتقا دهد.
چالشها و آینده این فناوری
در پایان لازم است یادآور شویم که اگر پتنت مربوط به فناوری تازهای ثبت میشود، لزومی بر تحقق آن نیست. بسیاری از پتنتها هرگز به محصول نهایی تبدیل نمیشوند. با این حال، این پتنت نشاندهنده جهتگیریهای تحقیقاتی سامسونگ در زمینه فناوریهای پوشیدنی و آینده تعامل انسان و کامپیوتر است.









نظرات
0دیدگاه خود را ثبت کنید
برای ارسال نظر و مشارکت در گفتگو، لطفا وارد حساب کاربری خود شوید.